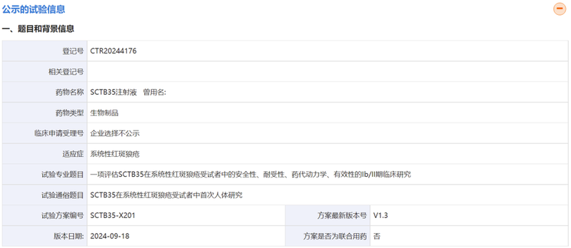
2024年11月7日,神州细胞在药物临床试验登记与信息公示平台网站上注册了CD3/CD20双抗SCTB35治疗系统性红斑狼疮的1b/2期临床试验。

该研究入组的事SLEDAI评分8分以上的患者,1b期主要终点为安全性,2期临床主要终点为SRI-4响应率,次要终点为SLESAI-2K降低超过4分的受试者百分比等。


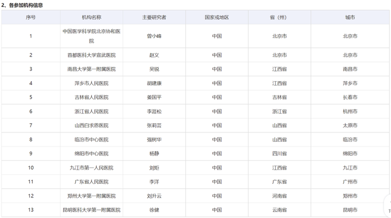
该1b/2期临床由协和医院曾小峰主任主持,计划入组156例狼疮患者。

总结
自免热潮引发了TCE密集出海,但目前TCE积累的多是血液瘤的临床数据,自免的临床刚刚开始。前几天,安进刚刚启动CD3/CD19双抗治疗狼疮肾炎的二期临床,Cullinan则刚刚启动CD3/CD19双抗治疗狼疮的一期临床。SCTB35今年3月才启动血液瘤临床,但在自免赛道的布局领先一步。
