近日,复宏汉霖宣布PD-L1 ADC新药HLX43在近日完成二期临床首例受试者给药。HLX43在2023年11月开启一期临床,为全球第二款进入临床阶段的PD-L1 ADC。

HLX43为一款采用宜联生物TMALIN®技术合作开发的PD-L1 ADC新药。根据此前公开的临床前研究数据,HLX43通过充分的差异化设计,表现出优异的旁观者效应,体内试验表现出优异的抗肿瘤活性。与此同时,HLX43对PD-L1阳性人类抗原呈递细胞无免疫毒性,从而保证了良好的安全性。在肝癌模型中,HLX43与VEGF抗体表现出协同抗肿瘤活性。

根据辉瑞最新公开的信息,其PD-L1 ADC即将启动关键三期临床,针对头颈癌一线治疗、非小细胞肺癌二线及以后治疗。这也标志着PD-L1 ADC进入最后的POC阶段。

根据辉瑞去年9月公布的一期临床数据,SGN-PDL1V治疗的55位患者,ORR为27.3%,其中12.7%已确认,mDOR为7.9个月。安全性方面,3级及以上副作用发生率为30.9%,因副作用停止治疗比例为14.5%。
值得关注的是,HLX43并非简单意义上的fast follow,作为后来者,它在linker和payload的选择上有明显的迭代和升级。如SGN-PDL1V采用传统的VC-MMAE 连接子和微管抑制剂毒素,而HLX43采用三肽连接子和拓扑异构酶I抑制剂毒素。拓扑异构酶I抑制剂在T-DXd中的应用初步验证了其在抗肿瘤疗效上的优越性,此类毒素在血液中的半衰期更短,安全性更好,同时拓扑异构酶I抑制剂更强的膜穿透性和细胞膜亲和力便于发挥旁观者效应。实验结果表明,HLX43的稳定性和对肿瘤的杀伤作用更优。此外,在PD-L1 低表达的肿瘤模型如肝癌模型中,HLX43也展现出优异的抗肿瘤疗效,可能进一步扩大适用人群。

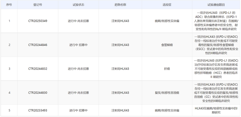
目前全球范围内仅有3款PD-L1 ADC进入临床阶段,从研发格局来看HLX43具有很好的竞争身位。复宏汉霖目前正在围绕HLX43密集启动多项二期临床,覆盖非小细胞肺癌、宫颈癌、肝癌、食管癌等多个瘤种。复宏汉霖同时也启动了探索PD-1单抗+PD-L1 ADC联合治疗1b/2期临床试验。

总结
ADC已经成为肿瘤治疗的重要方向之一,作用机制上可以看做是靶向的化疗,与PD-(L)1的联用也已经不断取得临床突破。PD-L1靶点有其独特的应用潜力,既做为免疫检验点,又可做为ADC的TAA。从这个角度来看PD-L1 ADC可以拥有双重作用机制,即靶向的毒素杀伤和解除免疫抑制,因此可以覆盖多个瘤种。在早期临床研究中,HLX43的差异化设计已经展现出优异的信号,对PD-L1阳性人类抗原呈递细胞无免疫毒性,药物整体安全性达到设计目标,同时该ADC展现出积极的疗效。基于扎实的一期数据,HLX43快速推进到二期临床。可以期待其后续更多的临床进展。