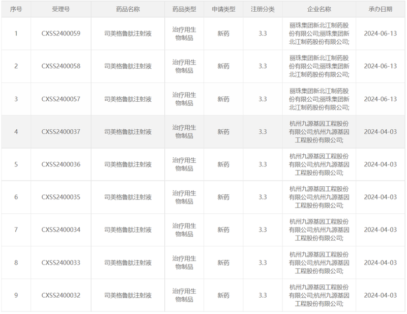
2024年9月15日,齐鲁制药司美格鲁肽类似药的上市申请获得NMPA受理,继九源基因、丽珠集团之后第3家申报上市。
九源基因、丽珠集团均按生物类似药路径申报,齐鲁制药则按2.2类化药申报。

2024年上半年,司美格鲁肽降糖注射版Ozempic销售额82.87亿美元,同比增长36%;司美格鲁肽降糖口服版Rybelsus销售额15.98亿美元,同比增长32%;司美格鲁肽减重版Wegovy销售额30.75亿美元,同比增长74%。司美格鲁肽合计销售额129.6亿美元。占到诺和诺德总营收的三分之二。

总结
司美格鲁肽在中国的专利将于2026年到期。目前进入三期临床阶段的就有九源基因(申报上市)、丽珠集团(申报上市)、华东医药、博唯生物、四环医药、珠海联邦、齐鲁制药、石药集团、正大天晴、质肽生物、倍特药业等不下十家。
